通用型 喷码机
MK-U6000 系列

如果生产线不会再因故障而停止,那么 生产率可得到惊人的提高。

在追求稳定性的同时,溶剂消费量也大幅削减。
为提高生产率而开发的喷码机。

下载目录

可提高生产率的三大秘密

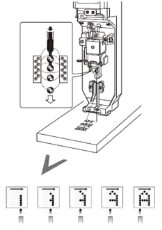
1. 不堵塞、字迹清晰

打印头内部的状态在很大程度上影响打印质量与生产线的运转。MK-U的打印头为了防止现场环境以及操作员所致的不均,配置了可实现稳定运转的各种功能。

2. 自行维修保养

对现场而言,无需特殊培训即可在短时间内进行维护直接关系到生产线停止时间的超小化以及运营成本的降低。
不仅实现了稳定运转,同时还大幅提高了维护性。

3. 简单连接CV-X影像系统

只需要一根电缆即可轻松连接影像系统。令人放心的打印检查,可轻松实现。
基恩士努力做到更好的稳定打印与确认检查,为您提供更加放心的打印质量。

可以自己公司产品上进行测试刻印

我们向客户提供无偿的测试支持服务,可满足客户的“能否以本公司的产品尝试刻印”、“想要对刻印效果以及附着程度进行评价”等各种要求。我们的经验丰富的技术人员将会为您提供快速的服务。

想要实际考察设备!

通过实际考察,可解决您所拥有的类似“操作是否很难”、“需要如何进行维护”等很多疑问。 基恩士的专职销售将会携带设备向您详加解说。 请您在以下咨询表中填写“希望提供实际演示”后发送给我们。

报价、详细说明以及各种商谈。

除了报价,如果您对引进、选型、设置方法等等问题抱有疑问,欢迎您随时咨询。
我们的专职销售工程师将会立刻回复您。

想要更加详细了解喷码机。

我们开设了可详细了解喷码机的原理、结构以及引进事项等内容的特设网页。

在这个网页上,您可以了解到喷码机的基本信息,以及MK-U6000系列的更加详细内容,相信这个网页定可助您一臂之力。

欢迎您随时来电咨询。电话接通之后,烦请您提及“想要咨询喷码机”。
这样,您的电话将会被立刻转接给专职负责人员。

4007-367-367

* 电话将接通就近的营业所。