水闸(闸门)的尺寸测量

水闸(闸门)、堰堤、泄洪闸设置的门体是重要部件,其形状和尺寸精度对性能有巨大影响。此外,对于设置数量的增加,提升生产效率成了当务之急。
下面将关注水闸(闸门)上设置的门体的形状和尺寸测量,介绍结构、种类等基础知识乃至测量方法的难题及其解决方法。
什么是水闸(闸门)

水闸是安装在河川、运河、水渠、湖沼、蓄水池、港湾等处、用于控制流水的构造物。安装形态为横断河川堤坝,不仅能调节流水量,关闭时还具备作为堤坝的功能。
水闸有时会与堰堤、泄洪闸混淆,不过堰堤没有作为堤坝的功能。此外,泄洪闸是指埋设在堤坝中的水闸。
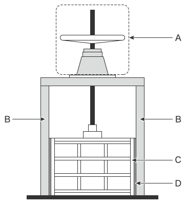
水闸(闸门)的结构
了解水闸结构和各部位的作用,对测量尺寸来说相当重要。
水闸结构因用途而异,其中较具代表性的水闸是滑动闸门,其结构以及各部位的作用如下所示。

- A:卷扬机
- 上下移动门体的装置。与门体之间通过刻有螺纹的、名为“主轴”的圆杆连接,旋转卷扬机的手柄可以开闭门体。开闭装置有水平卷扬式、斜面式、蜗杆传动式等,通过液压或电机使其开闭。
- B:门挡轨
- 作为门体导轨的部分。用H型钢或弯折材料制作而成。在安装于水坝等的大型水闸中,门挡轨埋设在混凝土内。
- C:门体
-

阻止流水的门。由作为框架的主梁(a)、端梁(b)和面板(c:拦截水的部分)构成。
- D:水密橡胶
- 装在门体和门挡轨之间,是类似垫圈的部件,具有提升水密性的作用。有P型、平型等类型。
水闸(闸门)的种类
水闸门体的开闭方法有很多种,按照开闭方法,分为使用卷扬机的类型,以及以铰链为支点开闭的类型。根据大小和必要功能来区分使用。下面将对这两种类型中较具代表性的进行说明。
使用卷扬机的类型
用名为“卷扬机”的装置上下移动门体,控制流水。
滑动闸门(泄洪闸门)
通过安装在上部的卷扬机,使门体上下滑动实现止水的闸门。
这种水闸的形状极其常见,门体采用钢、不锈钢、铝合金等材料。
滚轮闸门
在滑动闸门的门体和门挡轨之间安装了滚轮的闸门。
门体为大型或门体承受水压较高时,由于门体的重量以及与门挡轨之间的摩擦,提起门体需要强大的力量。滚轮闸门由于门体和门挡轨之间安装有滚轮,因此摩擦较小,可以用较小的力量提起门体。
以铰链为支点进行开闭的类型
用铰链固定门体的一侧,以其为支点开闭门体,控制流水。
翻板闸门
防止外部的水发生逆流的闸门。 根据闸门前后的水位差执行动作,无需开闭装置,可在无人、无动力的情况下应用。门体采用钢、不锈钢、铝合金等材料。
摆动闸门
用于防潮门(水密门)的闸门,安装在邻接河川或海岸的堤坝的出入口,或者工厂建筑物等的出入口。以侧部铰链为中心旋转门体,由此开放/封锁水路。门体采用钢、不锈钢、铝合金等材料。
水闸(闸门)尺寸测量的必要性
除了止水性和经济性以外,水闸还要求具有在发生灾害等紧急情况时迅速反应的动作性。此外,在安装后会长期使用,所以耐久性和水密性也十分重要。其中,门体是直接挡住流水的重要部件,形状和尺寸精度对动作性、耐久性、水密性有巨大影响。
门体由主梁、端梁、面板、水密橡胶等构成。在制造工序中,会预组装主梁、端梁、面板,测量尺寸,确认组装精度。
确认组装精度后,焊接各部位,并确认成品的尺寸精度。焊接时可能发生应变,因此在焊接后需测量各部位尺寸,超出公差范围时,需实施应变消除,确认尺寸在公差范围内。
如上所述,制造水闸时,在各种工序中必须反复多次测量尺寸,因此尺寸测量仪不仅需要一定精度,还要求高效的操作性。
水闸(闸门)尺寸测量的难题和解决方法

在门体尺寸测量方面,除成品外,确认预组装时的组装精度以及维护时的精度也十分重要。进行这些测量时多采用经纬仪、卷尺、大尺寸游标卡尺等,不过,此类方式存在一些难题:测量人员不同造成的测量值偏差、应变趋势等不易掌握、测量耗时久等。
为了解决这些问题,越来越多的人开始采用新款三坐标测量仪。采用基恩士大范围三坐标测量仪“WM系列”,单人也能通过无线探头,以高精度测量大型水闸门体的尺寸。在测量范围内,可自由接近工件的深处部位,只需探头接触的简单操作即可测量。而且与经纬仪、卷尺、大尺寸游标卡尺等测量器具相比,测量结果无偏差,可进行定量测量。


水闸(闸门)的焊接应变、面板的平面度测量
小型水闸的门体面积不到10 m2,大型水闸能达到50 m2。因此,如果要用卷尺或大尺寸游标卡尺测量,至少需要2人进行作业。
但是,使用卷尺或大尺寸游标卡尺时,测量值会随着接触角度和强度变化,所以作业人员不同会令测量值发生偏差。而且,在确认焊接应变时,每次进行应变消除都必须反复测量,测量作业会持续很长时间。
采用“WM系列”,只需将探头接触测量点即可测量。不仅是大型水闸的全长、整体宽度、对角长度,面板的平面度也只需探头接触就能完成测量。可以用彩色图表示应变形状,便于操作人员准确、简单地修正尺寸。
此外,单人也能快速测量大尺寸,不会因为作业人员不同而导致测量值偏差。

面板平面度测量画面示意图

预组装的尺寸测量
在检查主梁、端梁、面板组装精度的预组装中,需测量梁间隔和部件间的间隙,确认正式组装是否可行。对主梁和端梁实施焊接时,需确认是否因焊接发生了应变,面板是否有翘曲和起伏。
为了测量长达数米的主梁和端梁,需要多名作业人员,用卷尺进行定量化测量非常困难。而且,面板的平面度和三维坐标位置等无法用卷尺、大尺寸游标卡尺等手动工具测量,必须使用激光跟踪仪等三坐标测量仪。三坐标测量仪可以准确测量复杂的测量项目,但有时必须由拥有熟练技能的人员实施操作。因此,测量人员需要根据用途和成本,灵活选择测量器具和测量仪。
采用“WM系列”,只需将探头接触测量点,单人也能进行定量测量。不仅是大型水闸的梁因为焊接而出现的变形和应变,面板的平面度也只需探头接触就能完成测量。可测量三维位置坐标。此外,还可以快速确认公差值相对于设计值的判定。

水闸(闸门)尺寸测量的高效化
采用“WM系列”,通过只需无线探头接触的简单操作,单人也能准确测量水闸(闸门)的尺寸和形状。而且,除了之前的介绍外,还拥有以下诸多优点。

- 可以高精度测量大范围
- 以高精度测量大范围区域,最大测量范围长达25 m。搭载“测量指南”模式,可存储测量步骤,测量相同位置,因此不会产生人为的测量数据偏差。

- 便携设计,可放置在现场
- 可把主机放入台车自由携带的便携规格。可携带至现场,当场立即测量施工状态。

- 简单易懂的界面
- 三坐标测量仪的界面一般给人的印象是有很多难以理解、难以熟悉的指令,而“WM系列”则追求图像和图标等容易上手的操作性,可进行直观操作。

- 可保存自带照片的检测结果报告书
- 可自动制作带照片的检测结果报告书,测量位置一目了然。不仅有助于和客户建立信赖关系,还可以将测量结果保存为数字数据,从而提升公司内部数据管理的效率。
“WM系列”不仅能在工厂和生产现场测量水闸(闸门)的形状和尺寸,还能强力支持数据分析及检测报告制作。从水闸的制造,到安装和维护时的必要工作,飞跃性地提升效率。




