打桩机和钢管桩尺寸测量的高效化

作为基础工程中主要部件的桩和施工中使用的打桩机的尺寸精度,对建筑物基座的性能有巨大影响。此外,对于施工件数的增加,提升制造效率成了当务之急。
下面将关注打桩机和桩的尺寸测量,介绍打桩机的原理、施工法等基础知识乃至测量方法的难题及其解决方法。
什么是打桩机

打桩机是在建筑物的基础工程中用来将桩打入地层的建筑机械,也称为“桩工机械”、“打桩机械”等。打桩方法有通过击打、压入、掘凿来打桩等,还有将击打和压入相结合的方法。其中,压入打桩被称为“压入施工法”,代表性的压入施工法有全套管施工法*。压入施工法不会产生振动、噪音等施工公害,因此适用于各种施工现场。另外,利用击打或掘凿的打桩机也采取了措施来保护周边环境,如配备减少噪音的装置。
- 全套管施工法:
- 该施工法将名为“套管”的钢管桩旋转并压入,直至掘凿孔全长,然后一边保护孔壁一边掘凿。用锤式抓斗等将因掘凿而堆积在套管内的沙土排出,在形成的孔里浇灌混凝土。
打桩机和桩的结构
打桩机包括以下3种类型。
- 击打
- 用大型击打锤击打或振动桩,使其打入。
- 压入
- 利用打桩机的自重,通过液压来打入桩。
- 掘凿
- 用螺旋钻等螺旋型钻头掘凿地基并打入桩。
桩使用钢管桩、H型钢等。下面将对作为代表性打桩机的液压式打桩机以及钢管桩的结构进行说明。
液压式打桩机(液压打桩锤)
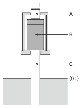
液压式打桩机又名“液压打桩锤”,是利用液压锤的力量将夯锤向下推动并加速,以此来打桩的打桩机。相较于仅凭夯锤重力打入的打桩机,可缩短锤的全长。此外,单次击打的贯入量较大,击打次数也较多,因此可缩短施工期间。

- A
- 液压锤
- B
- 夯锤
- C
- 钢管桩
钢管桩
钢管桩是以SKK400或SKK490为材料制造而成的钢管。因为需要掘凿地基,所以前端部安装了硬质刀刃,可掘凿孤石、岩盘等,而钢管桩形状必须是精密的圆柱形。
例如,在套管(全套管施工法中使用的钢管桩)的掘凿方向上安装了第一节套管,第一节套管的前端装有名为“刀刃”的刀片。为了笔直、准确地挖掘到深层,套管为准确的圆柱形,第一节套管前端的刀刃上安装了用碳化钨等制作的超硬凿子,可粉碎孤石、岩盘等。

- A
- 套管
- B
- 第一节套管
- C
- 刀刃
打桩机和桩尺寸测量的必要性
打桩机的各部件由制罐工厂制作。很多部分均通过机械手、自动设备实施素材切断、加工、焊接等操作,不过细微的部分仍然需要熟练人员手工制作。这些作业完成后,再由大型五面体加工机等进行加工并组装。如上所述,制作打桩机需经过多道工序,因此可能会因为焊接时的焊接热量、切削时的加工压力等而导致部件尺寸发生变化。
此外,桩的尺寸精度对桩的打入精度有巨大影响。例如,钢管桩需要将轧制后的钢板成型为管状,并通过焊接接合,但可能会发生轧制时的成型不良和焊接热量造成的变形。桩的变形不仅会影响打入精度,还会影响建筑物的强度,因此在施工现场发现桩出现不良时,可能会发生施工中断等严重事故。
综上所述,打桩机和桩的制造工序中的尺寸测量和检查,对于顺利施工和高强度基础工程来说是不可缺少的。
打桩机和桩的尺寸测量
打桩机应笔直、准确地将桩打入。打入地基的桩长达数米,因此微小的位置偏移和倾斜都会使上层构造物产生巨大误差。桩的情况也同样,除上述问题外,还会造成桩前端破损以及强度下降。
尺寸测量要点
下面将说明打桩机和套管的尺寸测量要点。
打桩机
在打桩机上,桩被卡盘夹住时用导轨来保持桩的位置,该导轨的尺寸需要测量。需测量卡盘上下导轨的平行度、导管的孔间距、装在导辊安装框架上的导辊支持框架的螺栓孔间距。
套管
如果是全套管施工法中使用的钢管桩,需测量套管的翘曲、面到面距离、角度。需严格测量并确认套管、第一节套管、刀刃是否已正确组装,没有翘曲。
打桩机和桩尺寸测量的难题和解决方法
在打桩机和桩的制造中,除成品外,在制造的各工序中进行测量尺寸十分重要。各部位的尺寸用卷尺、水准线等手动工具测量,三维形状和几何公差则用门型和关节臂式三坐标测量仪测量。
但是,手动工具精度不足,而门型和关节臂式三坐标测量仪在搬运、安装至测量仪的过程中耗时太久,造成交货和工期延迟,成为一大难题。为了解决这些问题,越来越多的人开始采用新款三坐标测量仪。


采用基恩士的大范围三坐标测量仪“WM系列”,在测量范围内,可自由接近工件的深处部位,只需执行单手用探头接触待测量位置的简单操作,即可实施测量。与卷尺、水准线、千分表等手动工具相比,测量结果无偏差,可进行定量测量。此外,可以在有需要的时间、场所进行测量,无需移动工件即可测量。


打桩机卡盘上下导轨的平行度测量
打桩机的导轨与桩的间隙越窄,振动越小,因此能够顺畅动作。但是,如果尺寸不正确,部件间的间隙变窄,与桩之间会产生摩擦,导致无法顺畅动作。如果保持夯锤位置的导轨之间的平行度不正确,夯锤就无法正常动作,不能向桩施加足够的力量。
导轨的平行度需通过千分表实施仿形测量,或用测隙规测量平板与导轨的间隙来确认。但是距离较长,必须由多人共同测量,测量值会随着千分表、测隙规的接触角度和强度变化,所以作业人员不同会令测量值发生偏差。此外,三维距离和坐标用龙门式和关节臂式三坐标测量仪测量,但使用门型三坐标测量仪时必须将工件搬运至测量室,而使用关节臂式三坐标测量仪时测量范围狭窄,测量相当耗时。
采用“WM系列”,只需将探头接触待测量位置,除了导轨的平行度之外,导轨间的平行度以及安装后的平行度都即可测量。不熟悉测量工作的人员也能快速进行单人测量,不会因为作业人员不同而导致测量值偏差。
也可直接测量三维距离和坐标,以高精度测量大范围区域,最大测量范围长达25 m。不仅如此,由于该产品是便携式,可随身携带,可以对加工机上的加工精度进行三坐标测量。




套管的翘曲、面到面距离、角度测量
检查套管的翘曲时,用千分表实施仿形测量,或者用水准线测量间隙。面到面距离用卷尺测量,而面的角度用角度仪测量。但是,用于大规模建筑物基础的套管长度达到数米,因此通过这些手动工具得到的测量值,会因为测量人员不同而发生偏差。此外,套管曲面用门型或关节臂式三坐标测量仪测量,但使用门型三坐标测量仪时必须将套管搬运至测量室,而使用关节臂式三坐标测量仪时测量范围狭窄,两者的效率都不高。
“WM系列”采用便携式设计,可安装至各种地方,无需移动目标物。可在目标物附近安装测量仪,立即开始测量。
不必像仿形测量一样移动目标物,只需用探头接触基准要素和目标要素的测量点,即可测量翘曲。面到面距离和角度测量等各部位尺寸,均可轻松测量。
此外,还可对从3D CAD文件读取的形状与测量数据进行比较。可以在测量现场确认与CAD图纸的差分。除此之外,还可用彩色图显示与3D CAD数据的差分,以便通过视觉来确认。




打桩机和钢管桩尺寸测量的高效化
采用“WM系列”,通过只需无线探头接触的简单操作,单人也能测量打桩机和桩等长尺寸工件。而且,除了之前的介绍外,还拥有以下优点。

- 可以高精度测量大范围
- 以高精度测量大范围区域,最大测量范围长达25 m。搭载“测量指南”模式,可存储测量步骤,测量相同位置,因此不会产生人为的测量数据偏差。

- 可以3D模型输出测量结果
- 已测量的要素可导出为STEP/IGES文件。即使是没有图纸的产品,也能根据实物测量结果,制作3D CAD数据。

- 简单易懂的界面
- 三坐标测量仪的界面一般给人的印象是有很多难以理解、难以熟悉的指令,而“WM系列”则追求图像和图标等容易上手的操作性,可进行直观操作。

- 便携设计,可放置在现场
- 可把主机放入台车自由携带的便携规格。可携带至现场,当场立即测量施工状态。
“WM系列”不仅能测量打桩机和桩的尺寸,还能强力支持与3D CAD数据的比对工作等。从打桩机和桩的制造,到施工和维护时的必要工作,飞跃性地提升效率。




