压力容器的尺寸测量

随着锅炉的发明而发展起来的压力容器,在技术革新的进程中,在越来越多的工厂中得到应用,作为化学工厂、石油工厂、发电站等的构成要素,是不可缺少的密封容器。
这些设备均使用大型压力容器,因此除了难以准确测量尺寸之外,还必须由多人进行测量,花费大量工时。提升效率成为当务之急,另一方面,为了维持安全性,对于提升测量精度的要求也更急迫。
下面将说明压力容器的结构、尺寸测量的必要性、测量方法等基础知识。另外,还介绍测量方法面临的难题及其解决方法。
什么是压力容器

压力容器是指承受来自内部或外部的压力的密封容器。安装在石油、化学工厂和发电站等设施内,用于将作为原料的液体进行蒸馏、分离、反应来制造产品,或储存水蒸气等目的。
容器内压力与大气压力相比会变为高压或低压,因此制造时要求具有严格的尺寸精度。
压力容器的结构
压力容器种类繁多,但每种压力容器都是由大量部件构成。下面介绍在此之中多数压力容器通用的部件。
压力容器的壳体由筒体(壳)和封头构成,筒体上装有包括用于安装阀门的法兰在内的喷嘴、固定压力容器的支腿等。这些部件大致分为耐压部件和非耐压部件,耐压部件用于承受来自外部或内部的压力的位置。筒体、封头、喷嘴等是耐压部件,一旦破损会造成内部气体或液体泄漏,或者空气浸入,因此要求具备高强度和高加工精度。

- A
- 封头(上封头)
- B
- 筒体(壳)
- C
- 封头(下封头)
- D
- 支腿
- E
- 喷嘴
- F
- 法兰
筒体
构成压力容器的部件中极为重要的部件。筒体制作成圆柱形,目的是使其在承受压力时能具有极为稳定的耐压性,并且降低制造成本。除圆柱形外,还有圆锥形的筒体,圆锥形的筒体在筒体直径需要变化时使用。
封头
用于压力容器端面等处的半球形部件。封头截面形状有碟形、半椭圆形、球形、锥形等,压力高时使用半椭圆形和球形,压力低时则使用碟形和锥形。此外,没有筒体的球形压力容器称为球形筒体。
压力容器尺寸测量的必要性
压力容器用于多管式热交换器(管壳式热交换器)、反应器、常压蒸馏塔、核反应堆压力容器等。这些设备中,曾多次因为压力容器爆炸而造成重大事故,必须进行严格检查,以免再次发生此类事故。 特别在大型压力容器中,筒体和封头作为承受强大内压和外压的耐压部件,其尺寸、平面度、真圆度、螺丝孔位置度、喷嘴(含法兰)的安装角度都要求进行严格的检查。
平面度、真圆度、位置度的测量
测量有尺寸、形状等各种测量要素,下面将说明平面度、真圆度、位置度的测量方法和计算方法。平面度是相对于基准面的平面凹凸程度,真圆度是圆的程度,位置度是表示相对于基准平面和基准直线的位置准确程度的指标,它们都属于被称为“几何公差”的测量项目。
真圆度用于管理压力容器壳体部分,即筒体(壳)和封头作为部件的精度,以及组装后的成品精度。平面度和位置度则常用于确认喷嘴和法兰在部件状态下的完成精度,以及组装至壳体上的精度。把使用手动工具等测量的测量值输入表格计算软件、运算网站等,即可计算得出这三个值。此外,还可使用针对各项目的专属测量设备和新款三坐标测量仪,直接测量上述几何公差项目。
平面度
平面度包括最大接触式平面度和最大倾斜式平面度。
最大浮动式平面度是指,以目标平面的3个点(尽可能远离)为基准分别设定平面,各点与设计图纸之差的最大值作为平面度的方法。
而最大倾斜式平面度是指,用平行平面夹住目标平面,并对形成的间隙进行测量的方法。
真圆度
对外形进行4或8等分后,测量2点间距,确认最大值与最小值,并将两值之差除以2,就能计算出真圆度。圆柱状的真圆度尽量测量多个位置,可提升测量精度。

- Dmax
- 最大值
- Dmin
- 最小值
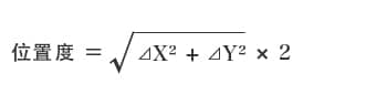
位置度
指定“相对于基准(作为基准的平面、直线)的位置正确程度”的精度。位置度是测量X轴方向和Y轴方向偏移的值,可用以下方法计算:从图纸尺寸减去测量值得到偏移量,将各偏移量的平方和开根号,然后再乘以2即可得出。

- ⊿X
- X轴方向的偏移量
- ⊿Y
- Y轴方向的偏移量
压力容器的尺寸测量
筒体和封头的尺寸精度对密封性和气密性有较大影响,精度低时会造成焊接接头嵌合不良。特别是通过焊接组装的容器主体和法兰,焊接位置会因为热而发生变形,无法按照设计图纸完成。因此,必须测量制作完成的压力容器的尺寸,确认在容许范围内。
尺寸测量要点
应确认的主要测量点与容许公差如下。
容器主体(筒体和封头)

- A
- 封头
- B
- 筒体
- C
- 内径
- D
- 设计尺寸
- 筒体的真直度
- 长度每6 m的偏移在6 mm或以下,最大不超过20 mm。
- 筒体的真圆度
- 截面内径的最大值和最小值之差不超过1%
(图纸中的内径的±0.5%或以下)。 - 封头的形状
- 下图所示的(1)和(2)的间隙均不超过内径的±1.25%。
全长:长度每1 m的偏移在±1.5 mm或以下。
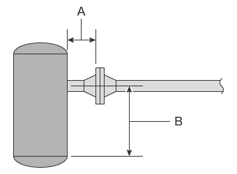
喷嘴(含法兰)

- A:喷嘴高度
- ±5 mm或以下。
- B:喷嘴的安装位置
- 距离基准线±10 mm或以下。
压力容器尺寸测量的难题和解决方法
对于压力容器,除成品外,确认制造期间的加工精度以及更换部件时的组装精度也十分重要。进行这些测量时多采用量尺、卷尺、大尺寸游标卡尺等。个别构成零件也常常是大型尺寸,一般至少需要2至3人进行测量。而且此类方式存在一些难题:测量人员不同造成的测量值偏差、应变趋势等不易掌握、测量耗时久等。此外,以储罐或法兰的中心为基准规定图纸尺寸时,也存在无法用手动工具等模拟工具直接测量的问题。

为了解决这些问题,越来越多的人开始采用新款三坐标测量仪。采用基恩士大范围三坐标测量仪“WM系列”,能通过无线探头,以高精度测量压力容器的尺寸。在测量范围内,可自由接近工件深处部位,只需探头接触的操作,即使单人也能轻松测量。而且与千分表、卷尺、大尺寸游标卡尺等测量器具相比,测量结果无偏差,可进行定量测量。而且,还能以虚拟线为基准,直接测量三坐标尺寸,所以能以高度可靠性确保图纸规定的尺寸。


封头的直径和真圆度以及各部位的测量
110万kW(千瓦)级的沸水型(BWR)核反应堆压力容器的高度约为22 m,宽度约为6 m(内径)。如此大的封头的直径、真圆度、半球部分的R测量、从R顶点至端面的距离等均需要测量。如果要用游标卡尺和卷尺测量,至少需要2名作业人员,每次实施测量得到的值不尽相同,难以进行准确测量。例如,真圆度需用卷尺测量2点间的距离。但是,测量值会随着卷尺接触角度和强度变化,所以作业人员不同会令测量值发生偏差。另外,为了获得足够的测量精度,必须在指定的轴线上反复测量,因此测量作业可能会花费数天之久。
采用“WM系列”,只需将探头接触测量点即可测量。真圆度和半球部分的R测量以及各部位的距离,也只需用探头接触封头的基准要素和目标要素,即可完成测量。单人也能快速测量,不会因为作业人员不同而导致测量值偏差。此外,还可以快速确认公差值相对于设计值的判定。


螺栓孔的位置测量
压力容器上安装各种支撑材料和喷嘴的螺栓孔位置,是关系到安装后强度和稳定性的重要测量项目。因此,在制造时和交货时都需要测量距离压力容器底部的高度、孔间隔等位置。螺栓孔必须以位置坐标进行测量,同时还要测量接合面的平面度和角度。用手动工具实施这些测量时,需要多人共同作业,同时,深处的螺栓孔中心直径等会由于其它部件妨碍而无法测量,而且测量值不稳定,因此难以与设计值比对。
采用“WM系列”,只需将探头接触测量点,单人也能实施定量测量。通过无线探头自由接近,可测量工件深处部分,支撑材料和喷嘴安装面的角度也只需探头接触即可完成测量。可测量三维位置坐标。不仅如此,由于该产品是便携式,可随身携带,可以对加工机上的加工精度进行三坐标测量。


法兰的安装角度测量
焊接在大型压力容器上的法兰的位置,可按照至压力容器筒体中心的距离进行测量。测量距离长达数米,所以需用卷尺、大尺寸游标卡尺测量位置。安装角度和平面度则用水平仪、游标卡尺等测量。但是,使用手动工具时,测量值会随着接触角度、强度、位置变化,所以作业人员不同会令测量值发生偏差。
采用“WM系列”,只需将探头接触测量点,单人也能无偏差地实施定量测量。法兰安装角度也只需探头接触即可完成测量。可测量三维位置坐标。位置度和平面度等几何公差也能准确测量,因此即使是用替代方法进行测量的管理尺寸,也可以在显示器上直观地查看测量位置,同时进行测量。
可以用彩色图通俗易懂地表示平面度,便于操作人员准确、简单地修正尺寸。

法兰安装角度与平面度测量画面示意图

压力容器尺寸测量的高效化
采用“WM系列”,通过只需无线探头接触的简单操作,单人也能测量大型压力容器各部位的形状和尺寸。而且,除了之前的介绍外,还拥有以下优点。

- 可以高精度测量大范围
- 以高精度测量大范围区域,最大测量范围长达25 m。搭载“测量指南”模式,可存储测量步骤,测量相同位置,因此不会产生人为的测量数据偏差。

- 可以3D模型输出测量结果
- 已测量的要素可导出为STEP/IGES文件。即使是没有图纸的产品,也能根据实物测量结果,制作3D CAD数据。

- 可保存自带照片的检测结果报告书
- 可自动制作带照片的检测结果报告书,测量位置一目了然。不仅有助于和客户建立信赖关系,还能以数字形式保存测量结果,从而提升公司内部数据管理的效率。

- 简单易懂的界面
- 三坐标测量仪的界面一般给人的印象是有很多难以理解、难以熟悉的指令,而“WM系列”则追求图像和图标等容易上手的操作性,可进行直观操作。
“WM系列”不仅能测量压力容器各部位的尺寸和形状,还能强力支持与3D CAD数据的比对工作等。从压力容器的制造,到安装和质量管理时的必要工作,飞跃性地提升效率。




