大型石英玻璃制品的尺寸测量

与普通玻璃相比,石英玻璃的透光性、耐热性、耐腐蚀性等更加优秀,大量用于光学部件、半导体、半导体制造装置的部件。
石英玻璃制品的尺寸常常用手动工具或龙门式三坐标测量仪等接触式测量设备来测量,这些设备根据测量点区分使用。
但是,这些测量设备越来越难以在确保尺寸精度的同时,满足缩短制造和安装所需时间等要求。
下面将说明石英玻璃的基础知识。此外,还着眼于尺寸测量的必要性和应注意的测量要点、因测量设备不同而造成的效率差异,并介绍实现测量效率提升的各种案例。
什么是石英玻璃

石英玻璃是一种玻璃,由超高纯度的水晶(二氧化硅:SiO2)制成。与普通玻璃(钠钙玻璃)相比,金属等杂质极少,因此透光性和耐热性优异。人们利用该特点,将其用作镜片和棱镜等光学部件、半导体制造装置部件、半导体、高温箱窗户等的材料。
与普通玻璃的区别
普通玻璃由名为硅砂的沙子制成,含有各种杂质。与此相对,石英玻璃的原料是精炼或化学合成的水晶。石英玻璃的杂质少,因此具有透光性非常高的特点。此外,它的耐热性强,热膨胀系数极低,可承受急剧的温度变化。
石英玻璃的种类
根据制造方法,石英玻璃可大致分为“熔结石英玻璃”和“合成石英玻璃”。
熔结石英玻璃
熔结石英玻璃的制造方法是,将水晶粉末在氢氧焰或电炉里熔融,然后冷却。原料水晶中含金属杂质较多,不过可通过精炼去除金属杂质,实现高透明度。制造简单,能以低于合成石英玻璃的成本制造。
合成石英玻璃
合成石英玻璃以杂质较少的水晶为原料进行化学合成,如利用氢和氧将硅烷化合物加水分解等,由此制作而成。与熔结石英玻璃相比,在宽广的波长范围内的透光性更优秀。不过,它要求在清洁环境中加工,制造成本往往高于熔结石英玻璃。
石英玻璃的用途
石英玻璃具有高耐热性和高透光性,主要用于电气电子设备。
熔结石英玻璃的高耐热性适合耐热形状稳定性高的部件,用于半导体制造中的热处理工艺等高温工艺的炉心管、石英舟、灯用材料等。此外,还用于真空蒸镀装置、真空室等。
合成石英玻璃由于其优异的均质性和透光性,用于半导体和液晶制造中使用的曝光装置的镜片和棱镜等光学部件、光纤、半导体和液晶制造使用的光掩模等。而且,对于化学品侵蚀的耐性也很强,具有较高的耐化学品性(氢氟酸、磷酸、碱、碱金属化合物的溶液及其气体等有限化学品除外),因此对使用化学品的半导体制造工艺的部件来说,是不可或缺的材料。
大型石英玻璃制品尺寸测量的必要性
石英玻璃大量用于电气电子设备和生产装置,均为尺寸精度要求极高的精密部件。因此,制造时的微小误差会直接导致产品不良。
例如,在半导体制造中以批量式进行成膜或蚀刻时使用的石英舟,将晶圆收纳在“载架”上。载架以数十块为单位收纳晶圆,收纳晶圆的间隔精度决定着工艺质量。载架各部位的外径尺寸和石英舟的组装精度较低时,晶圆间隔产生偏差,无法实施正常的工艺处理,导致不良品出现。因此,制造时必须通过尺寸测量进行严格的检查。此外,热处理工艺中的石英舟有时会因为热量而变形,所以定期维护时的尺寸测量也必不可少。
大型石英玻璃制品的尺寸测量
较具代表性的大型石英玻璃制品有半导体制造装置中使用的石英舟和石英管、用于液晶制造的光掩模等,下面将以石英玻璃制作的石英舟为例,对尺寸测量进行说明。
测量要点
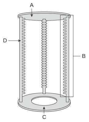
在石英舟的尺寸测量中,上板和下板的平面度以及与将两者结合的柱的直角度测量十分重要。当这些值发生偏移时,上板和下板的中心也可能发生偏移,所以必须通过尺寸测量进行检查。此外,还需要测量收纳晶圆的载架的宽度。这些直接关系到工艺的可靠性,是制造和定期维护时重要的检查要点。

- A
- 上板
- B
- 载架
- C
- 下板
- D
- 柱
石英玻璃制品尺寸测量的难题和解决方法
在制造时以及引进后的定期维护中,都需要确认石英玻璃制品的尺寸精度。石英玻璃的透光性高,所以使用激光或LED光的测量仪很难测量。因此,可用接触式测量仪测量,但千分表、角度规等手动工具的精度不足,难以准确测量几何公差。而且用龙门式三坐标测量仪测量时,存在必须将精细的石英玻璃制品搬运至测量室、无法随时测量的问题。此外,操作必须熟练,因此能测量的作业人员十分有限。
石英玻璃制品尺寸测量中的此类难题导致交货和制造工艺启动延迟以及引进后工艺不良的情况相当常见。
为了解决这些问题,越来越多的人开始采用新款三坐标测量仪。
采用基恩士大范围三坐标测量仪“WM系列”,能通过无线探头,以高精度测量石英玻璃制品的尺寸。在测量范围内,可自由接近产品的深处部位,单人也只需探头接触的简单操作即可测量。与千分表、角度规等手动工具相比,测量结果无偏差,可进行定量测量。它还具有将测量数据和CAD数据进行比对、从测量数据生成CAD数据的功能。


石英舟、石英管的尺寸测量
石英舟的载架宽度、上板和下板的平面度、与柱形成的直角度等尺寸,以及作为石英舟覆盖罩的石英管的内外径、圆柱度、从圆柱中心至气体管中心的尺寸,都是重要的测量要素。
特别是石英管的内外径、圆柱度、从圆柱中心至气体管中心的尺寸,一旦偏离公差范围,就无法获得准确的内容量和高真空度,降低工艺的可靠性。
石英舟和石英管的各部位尺寸要求以1/10毫米为单位的精度,因此使用手动工具会导致精度不足。测量人员不同可能会令测量值产生偏差,而且将翘曲和起伏作为平面度进行数值化较为困难。龙门式三坐标测量仪的测量人员有限,搬运至测量室需耗费大量工时。
采用“WM系列”,石英舟和石英管的尺寸也只需无线探头接触即可简单测量。与手动工具相比,测量结果无偏差,可进行定量测量。除石英管的内外径、从圆柱中心至气体管中心的尺寸之外,单人也可测量平面度、真圆度、圆柱度等几何公差并进行数值化,还能将虚拟线的距离可视化。
该产品是可以自由携带的便携规格,可携带至生产和安装现场,当场立即测量尺寸。可在安装状态下测量,不会因为工件装卸或移动发生变形。
而且可将测量结果自动转换为检测结果报告书。检测结果报告书附有照片,简明易懂,格式为富文本,可自由编辑。

石英管测量画面示意图


大型石英玻璃制品尺寸测量的高效化
采用“WM系列”,通过只需将无线探头安装在测量点的简单操作,单人也能测量大型石英玻璃制品。而且,除了之前的介绍外,还拥有以下优点。

- 可以高精度测量大范围
- 以高精度测量大范围区域,最大测量范围长达25 m。搭载“测量指南”模式,可存储测量步骤,测量相同位置,因此不会产生人为的测量数据偏差。

- 可与3D CAD数据进行比对
- 可将测量目标物的形状与从3D CAD文件中读取的形状进行比较测量。与3D CAD数据之间的差异还可以显示在彩色图中,支持自由曲面和轮廓度测量。

- 简单易懂的界面
- 三坐标测量仪的界面一般给人的印象是有很多难以理解、难以熟悉的指令,而“WM系列”则追求图像和图标等容易上手的操作性,可进行直观操作。

- 可以3D模型输出测量结果
- 已测量的要素可导出为STEP/IGES文件。即使是没有图纸的产品,也能根据实物测量结果,制作3D CAD数据。
“WM系列”不仅能测量大型石英玻璃制品的尺寸,还能强力支持与3D CAD数据的比对工作以及检测结果报告书的发行等。从大型石英玻璃制品的制造,到组装后的尺寸确认和质量管理时的必要工作,飞跃性地提升效率。




