涡轮叶片的尺寸测量

涡轮机的动作精度直接关系到能量转换效率。根据动力源,涡轮机可分为水力涡轮机、蒸汽涡轮机、燃气涡轮机、风力涡轮机等,其中,燃气涡轮机用于发电机和飞机的喷气发动机,要求能量转换高效化。
下面将说明作为燃气涡轮机重要部件的涡轮叶片的尺寸和形状测量及其必要性、重要的测量要点、提升测量效率的方法。
什么是涡轮叶片

燃气涡轮机的涡轮叶片以动叶列的形式工作,燃料燃烧产生的高温高压流体在流动时给涡轮叶片施加推力,使其旋转。
发电机通过定子(调整流体的静叶列)调整流体流动,同时将高温高压流体沿着轴方向喷射到涡轮叶片上,转动转子,以此获取旋转动力。“燃气涡轮机联合循环(GTCC)”利用燃气涡轮机,能源转换效率高,CO2和NOx等排放量比煤炭火力发电等少50%左右,燃料不使用石油,发电效率高,因此这种方式成为新型火力发电设备的主流。
另一方面,飞机的喷气发动机不转动转子,将从喷嘴喷射出的能量直接作为推力使用。根据该原理工作的发动机称为“涡轮喷气发动机”,进一步提升涡轮喷气发动机能量转换效率的发动机称为“涡轮风扇发动机”。
涡轮叶片尺寸测量的必要性
涡轮叶片在高温高压下高速旋转,其耐久性在很大程度上取决于材质以及形状和尺寸精度。其中,尺寸精度会影响转子的旋转精度,尺寸误差会导致偏心旋转,对轴承及其它部件造成严重伤害。
涡轮叶片分为两类,即通过锻造加工和切削加工制造的锻造叶片,以及对角材进行切削加工制造而成的角材切削叶片。其中直径超过3 m的大型涡轮叶片同时采用锻造加工和切削加工进行制造。此时,锻造中会因为冷却时体积收缩和熔融金属流动不良而发生形状不良,切削加工中会发生切削面过切和毛刺等缺陷。
另外,如果在维护时更换涡轮叶片,一旦组装精度低,就会造成重大事故。因此,在加工和维护时,必须在尺寸和形状测量中注意以下几点。
加工时
为减少涡轮叶片振动而安装的拉筋的孔直径和高度超出设计公差范围时,拉筋发生倾斜。拉筋倾斜后,嵌入部的应力增大,导致涡轮叶片出现裂纹。而且,当涡轮叶片嵌入部的尺寸精度有问题时,运行产生的离心力可能会使涡轮叶片发生破裂和飞散。尤其当嵌入部是杉树状结构时,尺寸形状与强度直接相关。
维护时
更换涡轮叶片时,如果拉筋的安装状态和焊趾部位形状有异常,或者嵌入部变形、面接触的状态发生变化时,可能会导致涡轮叶片产生裂纹。此外,再利用涡轮叶片时,如果各部位的腐蚀导致安装精度降低,可能会发生轴偏心,导致轴承破损。尤其是嵌入部,因为运行产生的热量、排气压力和离心力而承受应力,发生塑性变形的可能性较高,必须通过尺寸测量进行检查。
涡轮叶片的检查和试验方法在JIS、ISO、ANSI、ASME等标准中有严格规定,各部位尺寸测量也在各标准中被规定为不可缺少的项目。对于飞机的喷气发动机,国际制度规定,如果未在联合国机构ICAO(国际民用航空组织)规定的认证制度中被认定为合格,不仅无法产品化,即使是现有的飞机也不允许飞行使用,用于飞机的燃气涡轮机也包含在内。另一方面,用于发电的燃气涡轮机不像喷气发动机,没有大范围内的国际标准制度,但是有规定了试验方法和性能评价方法的标准。
涡轮叶片的尺寸测量
涡轮叶片的形状和调芯适用严格的公差,确保正确的叶片位置和气动力动作。一般来说,涡轮叶片由自由曲面构成,要求具备高超的测量技术。
尺寸测量要点
涡轮叶片是三维形状,测量要点很多,这些要点都十分重要。下面将集中说明其中极为重要的4点,即涡轮叶片的直径和叶片形状、组装精度、叶片的壁厚、调芯。
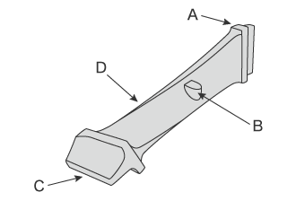
涡轮叶片的直径和叶片形状

- A
- 叶冠
- B
- 短桩
- C
- 嵌入部
- D
- 叶面
涡轮叶片的直径、叶片、拉筋孔的直径和高度均需要测量。单块叶片由叶冠、短桩、嵌入部构成。必须确认它们的各个位置和尺寸是否在公差范围内。特别是叶冠,其位于叶片前端,会对旋转期间的涡轮机振动产生影响,需要严格测量尺寸。叶片的形状是从叶冠到嵌入部呈扭转状,截面是三维曲面。因此,为了掌握面的整体形状,必须测量很多点,需花费一定时间,所以要求测量不仅具有高精度,还要高效率。
组装精度
火力发电机的1台涡轮叶片上安装的叶片超过1000块。为了使其正确旋转,不仅是1块叶片的尺寸精度,叶片之间的间隔、嵌入部状态、拉筋的安装状态、焊趾部位形状等组装精度也是重要的测量要点。特别是涡轮叶片和收纳涡轮叶片的叶片环的间隙,直径为数米的涡轮叶片也只有数厘米的间隙,非常狭窄,需要严格的尺寸测量。测量间隙时常常使用测厚仪,要求在各测量位置,通过插入相应尺寸的测厚仪,确认间隙宽度是否在尺寸公差范围内。
叶片的壁厚
涡轮叶片在工作期间温度极高,因此部分叶片做成中空状,使冷却材料在内部循环。这种结构的涡轮叶片被称为“中空涡轮叶片”。如果中空涡轮叶片的叶片壁厚有尺寸误差,冷却材料会循环不充分,降低冷却效果,引起异常过热等意外情况。因此,叶片壁厚测量可以说是确保合适强度和冷却平衡的重要要点。必须测量叶片整体才能得到准确的壁厚值,所以需要准确的三坐标测量。而且,与3D CAD设计数据进行比对等也是必不可少的作业。
调芯(轴系校中)
保养旋转装置时,需进行涡轮机调芯(轴系校中)。此时,固定轴的夹具可能会因重力而发生弯曲,夹具的间隙也会影响测量结果。此外,如果联轴器表面粗糙或有轴向推力方向的移动,则测量时需要考虑其误差。为获得正确的调芯值,测量人员必须修正这些影响,需要由熟练的测量人员进行细致的测量。
涡轮叶片尺寸测量的难题和解决方法
对于涡轮叶片,除成品外,叶片组装状态等制造过程中的测量也十分重要。另外,在高温、高压力下工作的涡轮叶片会产生各种缺陷,如翘曲、起伏、裂纹等。所以必须对使用较久的涡轮叶片实施定期的拆分检查。但是,大型涡轮叶片很难运至测量室,所以必须使用加工机的在机测量功能来测量。此外,定期检查和叶片更换时的测量使用卷尺和游标卡尺等工具测量。不过,为了得到高精度,需要执行在相同位置多次测量等作业,考虑到对运转率的影响,提升效率成为一大难题。
涡轮叶片的外径和细节部分测量
直径超过3 m的大型涡轮叶片一般至少需要2人共同测量。测量位置较多,作业耗时长。而且由于形状复杂,有些位置无法测量,需要根据可测量位置的值计算出值作为测量值。
例如,
- 用卷尺测量时,由于叶片阻挡而无法测量。
- 必须放置在车床等设备上才能测量。
- 使用测厚仪时没有留下测量值的记录,而且因测量人员不同而出现差异。
以上都是遇到的难题。
使用基恩士的“WM系列”进行测量,单人也能测量此类工件。操作直观,只需要用手持无线探头接触想要测量的点,即使是工件深处部位,也容易测量。除涡轮叶片的直径以外,还能测量叶冠、短桩、嵌入部等叶片各部位的尺寸,孔间距、位置度、同轴度、平面度等的三坐标测量也可实现。而且与大尺寸游标卡尺、卷尺等测量器具相比,不会因为测量人员不同而产生测量结果偏差,可进行定量测量。


叶片组装精度测量
在涡轮机维护时的检查中,必须在叶片等各部件组装于涡轮机的状态下进行测量。而且,组装后的涡轮机常常尺寸很大、形状复杂,所以用卷尺和大尺寸游标卡尺实施测量非常困难,有必要研究利用能测量三坐标尺寸的测量仪。
在涡轮机组装后的尺寸测量中,测量仪要求具备能在现场立刻使用的便利性,以及能应对复杂的三维形状的通用性。
激光跟踪仪的活用

- A
- 投影部/接收器
- B
- 反射器
- C
- 三脚架
出于以上原因,涡轮在组装后的尺寸测量有时会使用激光跟踪仪。
激光跟踪仪是将激光照射到接触测量目标物的反射器上,激光经反射器反射返回发光源,从而确定目标的三坐标位置的光学测量仪。与普通龙门式三坐标测量仪相比,可测量大型目标物(数米至数十米)。
在想要测量涡轮机、飞机等大型测量目标物、大型设备的部件、大型加工设备加工后的切削件等庞大的目标物时,这种测量方式得到广泛应用。
大范围三坐标测量仪的活用
基恩士的大范围三坐标测量仪“WM系列”也是适用于组装后的涡轮机等大型产品的三坐标测量的测量仪。首先,“WM系列”是便携式,供随身携带,测量场所没有限制。此外,其工作环境温度为0°C至40°C,工作环境湿度为20%至80%。无需温度管理的测量室。如此,便无需将涡轮叶片带入测量室,在现场即可进行高精度的三坐标测量。定期检查中的各部位测量也能在现场进行,因此可缩短涡轮机的停止时间,有助于提升运转率。


自由曲面的测量
“WM系列”可测量由复杂曲面构成的叶片3D形状。用卷尺和大尺寸游标卡尺难以测量的翘曲和起伏也可以与CAD数据比对,并通过彩色图清晰易懂地显示。


几何公差和坐标位置的测量
如果不使用三坐标测量仪,就无法准确测量几何公差和坐标。
除了圆、距离等基本测量之外,“WM系列”还能进行中点等虚拟点、平面度等几何公差以及XYZ的坐标测量。即使是一般需要熟练技术的工件固定夹具的位置坐标测量,也可轻松进行。


涡轮叶片尺寸测量的高效化
采用“WM系列”,通过只需无线探头接触的简单操作,即可对涡轮叶片形状进行准确的三坐标测量。而且,还拥有以下诸多优点。
- 可以高精度测量长达25 m的范围
- 用无线探头以高精度测量长达25 m的大范围区域。超出门型和关节臂式三坐标测量仪,以及大尺寸游标卡尺等手动工具范围的大型工件,也能简单测量。



- 单人即可完成大型产品的测量
- 操作简单,只需用手持无线探头接触想要测量的点,所以单人也能测量大型产品。大幅削减检测成本。

- 便携设计,可放置在现场
- 可把主机放入台车自由携带的便携规格。即使不移动测量目标物,也可携带至目标物所在场所进行测量。

- 可与3D CAD数据进行比对
- 可将测量目标物的形状与从3D CAD文件中读取的形状进行比较测量。与3D CAD数据之间的差异还可以显示在彩色图中,也支持自由曲面和轮廓度测量。
“WM系列”不仅能完成涡轮叶片各部位的形状测量以及组装期间的叶片位置测量,还能强力支持数据分析及检测报告制作。从涡轮叶片的制造,到定期检查时的必要工作,飞跃性地提升效率。




