金属腐蚀分析中的形态观察与分析的课题解决
用于汽车等各种产品的金属材料,有可能在意外位置发生局部性的急速腐蚀,甚至导致破坏。
在查明原因并防止再发的方面,重要的是腐蚀部位的分析及解析,在腐蚀部位的形态观察中将用到显微镜。
下面我们将为您介绍腐蚀分析及解析的步骤、腐蚀形态及原因,以及利用4K数码显微系统的课题解决案例。

腐蚀分析及解析的重要性与步骤
腐蚀是指金属等固体材料与周围环境发生化学反应或电化学反应,导致变质、损耗、破坏,最终失去原有功能的现象。腐蚀部位的形态有粒界腐蚀、点蚀、缝隙腐蚀、接触腐蚀、应力腐蚀开裂(粒内开裂、粒界开裂)等多种类型,因材料或环境而有差异。
为查明发生腐蚀的原因,并防止再发,各种行业都在实施腐蚀分析。尤其像汽车等由各种材料构成,且要求在室外的复杂环境下具备安全性的产品,腐蚀的解析及分析尤为重要。
腐蚀分析及解析的一般步骤如下。
腐蚀分析及解析的步骤
- 发生腐蚀部位的外观观察
- 确认发生腐蚀部位及腐蚀部位的颜色或状态。
- 切取或采集腐蚀部位,进行观察
- 切断腐蚀部位。难以切取时,只采集腐蚀部位。
- 腐蚀部位详细观察/腐蚀物元素分析
- (1)利用显微镜详细观察腐蚀部位表面,确认腐蚀部位与腐蚀物状态。有时还需要清洗腐蚀部位后,确认基材表面的点蚀等。
(2)通过腐蚀物成分分析(元素分析),确认促进腐蚀的物质。 - 腐蚀部位的截面观察
- 根据需要把腐蚀部位加工成截面样品,确认腐蚀进展状态。有时还进行截面成分分析(元素分析)。
局部腐蚀的形态与发生实例及原因
多数腐蚀问题的原因在于难以预测腐蚀进展速度的局部腐蚀。另外,有可能由于金属表面的保护膜遭到破坏,发生局部腐蚀,从而造成局部破坏。
成为破坏原因的典型局部腐蚀形态与原因如下所示。
粒界腐蚀

- A. 粒界腐蚀
- B. 脱粒
- 现象:由于存在杂质或夹杂物,而发生在腐蚀电位低的粒界部的腐蚀。另外,还有粒界腐蚀导致结晶粒脱落的“脱粒”。
- 发生实例:发生在不锈钢或铝合金等的热处理不良及处理不充分的部位,或在焊接时受到热影响的部位。
- 原因:
材料侧:粒界铬浓度下降、微量成分的粒界偏析与粒界析出物等。
点蚀

- A. 点蚀
- B. 钝化膜
- 现象:发生在保持钝化状态的金属表面(钝化膜)的极为有限的部分,沿着小孔径深入发展的腐蚀。
- 发生实例:卤素离子(Cl-等)引起钝化膜的局部破坏,发展成孔状腐蚀。在不锈钢及铝合金氯化物水溶液中,由于非金属夹杂物等导致金属不均匀而发生。
- 原因:
环境侧:卤素离子、溶氧。
材料侧:夹杂物、缺陷等。
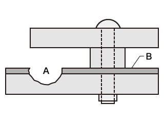
缝隙腐蚀

- A. 缝隙腐蚀
- B. 钝化膜
- 现象:因缝隙部分缺乏溶氧,金属表面的钝化膜遭到破坏,导致金属溶解而发生的腐蚀。
- 发生实例:发生在不锈钢、铝、钛材质的法兰面等。
- 原因:
构造、材料侧:缝隙构造、氧化层等。
环境侧:卤素离子、溶氧(发展阶段的机制与点蚀相同)。
接触腐蚀(异种金属接触腐蚀、电偶腐蚀)

- A. 腐蚀部位
- B. 贱金属
- C. 贵金属
- 现象:电极电位不同的金属相互接触,且周围存在电解质溶液的状态下,在“贱金属”上发生并发展的腐蚀。
- 发生实例:铝与钢接触时,发生铝腐蚀,钢与不锈钢接触时,发生钢腐蚀。
- 原因:
材料侧:存在电位差的金属间的接触。异种金属接触时,越贱的金属腐蚀越严重。
应力腐蚀开裂
- 现象:由于拉伸应力(残留应力或外部负载应力),导致表面保护膜局部性破坏而发生的腐蚀。当腐蚀集中发展时就会出现开裂。
- 开裂形态种类:应力腐蚀开裂的进展路径因金属与环境的不同组合而有差异,开裂形态也随之产生区别。
包括开裂贯穿结晶粒而发展的“粒内开裂”与沿着晶粒边界发展的“粒界开裂”。 - 原因:
粒内开裂:夹杂物、析出物、表面覆膜、材料缺陷等。
粒界开裂:微量元素的粒界、偏析、粒界铬缺乏层、粒界析出物、粒界不齐等。


腐蚀部位分析及解析的课题解决案例
由于能够根据腐蚀形态找到腐蚀发生原因,在腐蚀分析及解析中利用显微镜进行外观观察及详细观察日益重要。
由于腐蚀部位具有立体形状,在观察腐蚀部位时,存在各种对焦及照明条件设定方面的课题。另外,在粒界开裂及腐蚀开裂的详细观察中,由于分辨率不足而难以观察。
基恩士的超高精细4K数码显微系统“VHX系列”配备了高分辨率HR镜头与4K CMOS、专门设计的观察系统等,以简单的操作实现了利用高分辨率4K图像进行的高速高精细观察分析。
下面将以解决腐蚀部位观察分析中的显微镜课题为主线,介绍多功能4K数码显微系统“VHX系列”的应用案例。
利用晶粒边界的高精细、高分辨率图像进行观察
课题:使用显微镜时
使用显微镜时,要进行工业标准中规定的清洁度测量或详细观察,除由于设定繁琐而花费时间以外,要获得准确的分析结果,还需要具备熟练度。
引进4K数码显微系统“VHX系列”后
凭借高分辨率HR镜头与4K CMOS,在晶粒边界的高倍率观察中,也得以使用高分辨率、高精细4K图像进行观察。
由此,粒界腐蚀及脱粒、应力腐蚀开裂的粒内开裂或粒界开裂也能够通过清晰的图像进行详细观察。


通过全幅对焦观察立体性的腐蚀部位整体
课题:使用显微镜时
由于腐蚀部位呈立体形状,且受到景深的限制只能局部对焦,因此不能在把握整体图像的情况下进行观察。因此存在人为的评估偏差及细节处的遗漏等课题。
引进4K数码显微系统“VHX系列”后
凭借实现大景深与高分辨率观察的HR镜头与4K CMOS,加上“实时深度合成”,能够以简单操作瞬间获取对目标物整体全幅对焦的高精细4K图像。
无需对每个观察位置调焦,可实现迅速而无遗漏的观察。


无需调整照明,即可观察腐蚀状态
课题:使用显微镜时
在观察金属的腐蚀部分时,难以设定照明条件,需要在观察腐蚀状态前反复调整照明,花费大量人力与时间。
引进4K数码显微系统“VHX系列”后
凭借“全方位多功能照明”功能,只需按下按钮的简单操作,即可迅速获得全方向照明下的多张图像。操作者只需从中挑选适合观察的图像,即可通过清晰的图像进行观察。
节省在设定照明条件上花费的人力与时间,能够通过在适合的照明条件下拍摄的高精细图像,迅速进行观察。
另外,由于其他的全方位多功能照明图像数据被自动保存,即使在选择观察图像后,只要重新选择图像即可在不同的照明条件下进行观察。省去了需要重新在载物台上放置样本,并重新调整照明所需的人力与时间。


“改变”腐蚀分析及解析的显微系统
除了上文中介绍的功能外,高精细4K数码显微系统“VHX系列”还配备了很多有助于在现场进行分析及解析的功能。
除高精细观察腐蚀部位以外,“VHX系列”还可无缝实现次微米级的高精度2D/3D测量及有助于粒界定量评估的自动面积测量。
而且,仅用1台显微系统即可简单迅速地完成从Excel安装到在各个模板上利用观察图像及测量值自动制作报告等一系列作业。
如需了解“VHX系列”的详情,欢迎点击下列按钮,下载查阅产品目录或随时咨询。


