化学、材料、原材料行业
喷丸处理在数码显微系统下的观察、测量
喷丸处理是将喷料(细砂或小钢球、小铸铁球)高速喷射到加工物的表面,使表面产生小凹凸,切削表面的一种加工方法。相对于研磨加工是使表面变得光滑,喷丸处理是使表面变得粗糙。下面我们将为您介绍喷丸处理的概要和通过数码显微系统来观察、测量喷丸处理的案例。

什么是喷丸处理
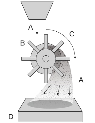
由于是高速喷射(喷发)小钢球和小铸铁球(抛丸),因此被称为喷丸处理。喷丸处理是让叶轮高速旋转,利用离心力抛出叶片上的喷料。与此相对地,将利用压缩空气抛出喷料的方式称为空气喷砂或喷砂处理。
喷丸处理

通过电机让叶轮旋转,利用离心力抛出喷料。由于无需压缩机,因此可以节省能源、减少成本,但加工功率难以调整,不太适用高精度加工。
空气喷砂(喷砂处理)

利用压缩机产生的压缩空气抛出喷料。压力调整简单,擅长高精度加工。
加工物和喷料的材质
为您介绍加工物和喷料的主要材质。
- 加工物(工件)
- 金属、陶瓷、塑料、玻璃、橡胶
- 喷料(媒介)
- 小钢球和小铸铁球(抛丸)、砂子、不锈钢、氧化铝、铜、玻璃、树脂、塑料、核桃砂
喷丸处理的目的和效果
- 去除锈迹、污垢
- 去除金属表面的锈迹、去除铸件上的砂子、去除焊接的焊接瘤、去除涂料和油污
- 去毛刺
- 去除冲压和机械加工后产生的毛刺
- 凹凸处理
- 通过让表面产生凹凸,提升涂装、电镀和黏结等的密着性。
通过梨皮处理,防止反射、提升补油性、提升摩擦力、提升散热性。
- 喷丸硬化
- 通过压缩残余应力,提升耐磨损性、抗削蚀性及抗疲劳强度。
通过数码显微系统来观察、测量喷丸处理的案例
为您介绍使用基恩士的4K数码显微系统“VHX系列”来观察、测量喷丸处理的应用案例。









