测量仪的种类与特点
投影仪
概要
光学测量仪的一种。测量原理类似于光学显微镜。其工作机理是将目标物置于载物台上,通过从下方照射光源,将目标物的轮廓投影到屏幕上。采用远心光学系统,可实现准确测量。
最初的开发用途是目标物的轮廓检测,随后则出现了附带测量功能的投影仪。 大型投影仪的屏幕直径甚至可超过1 m。
这种装置的优点如下所示。
- 能够对目标物进行非接触式测量。
- 能够测量小型物体及形状复杂的物体。
- 不同于工具显微镜,无需通过目镜进行观察,支持多人同时观察。
被广泛用于电子部件及精密部件等的检测、测量。过去,目标物的原点定位及定位费时费力。
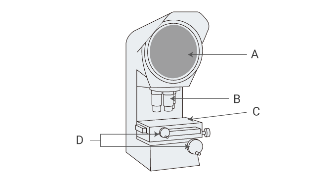
结构与用途

- A
- 投影屏幕
- B
- 投影镜头
- C
- 可动载物台
- D
- 载物台移动手柄(XY手柄)
投影仪的主要使用方法
- 将目标物置于载物台上。
- 用标尺对准在屏幕上被放大的投影影像,测量尺寸。还能够配合使用XY载物台,根据其移动量来测量尺寸。
- 某些投影仪还会采用“目标夹入型”刻度。即通过位于2条读数线之间的刻度,进行长度测量。
使用注意事项
- 投影仪的校正周期为6个月至3年。



