切削加工的种类
所谓切削加工,就是在控制金属等材料(加工物)与工具相对运动的同时,通过磨削、开孔,塑造出目标形状的技术。切削加工大致可分为2类,分别是固定加工物、控制工具旋转的“铣削”,以及旋转加工物的“车削”。
- 铣削加工
- 工具旋转

- 车削加工
- 加工物旋转

- A
- 工具
- B
- 加工物
下面将分别介绍铣削的代表性工艺“铣床加工”,车削的代表性工艺“车床加工”,以及这两种工艺所用的机床。
1. 铣床加工
通过旋转安装在旋转轴上的、名为铣刀盘的切削工具,来进行切削的加工。该工艺会用工具间断地锉磨固定的加工物进行切削,因此不仅能将加工物表面加工成平面、曲面,还能实现打孔、切槽等各类加工。
根据安装工具的主轴的方向,铣刀盘可分为卧式、立式,还有主体呈门状的门式等种类,可利用正面铣刀、立铣刀、槽铣刀等工具,将加工物加工成目标形状。



【1】通用铣削
通用铣削是由操作人员手动进行操作的铣床加工。在控制工具与加工物相对移动的同时,操作人员需要自行判断设定工具的位置、送刀、速度、切入量等加工条件。能够实现只有手动才能达成的精细加工,获得高品质成品。
【2】 NC铣削(CNC铣削)
NC铣削是借助计算机控制加工条件来实现的铣床加工。NC(Numerical Control)代表数字控制,过去还曾经使用过穿孔卡等工具。如今,通过设备内置计算机进行NC控制的CNC(Computerized Numerical Control)技术已经成为了主流,包括CNC铣削在内的技术越来越多地被称为NC铣削。自动运行不仅有助于实现省力化,还能通过使用3D CAD/CAM软件的加工程序控制操作,可用于形状更加复杂的加工。
【3】 加工中心
所谓加工中心,就是利用具备NC控制功能的机床,在进行铣床加工之外,还能对多根主轴分别安装工具,由多轴构成的复合设备。使用加工中心,能够接连组合直线运动及旋转运动,可连续进行打孔、曲面加工等不同种类的切削,加工出更加复杂的形状。
【4】 NC齿轮加工机
利用内置计算机的NC齿轮加工机,能够实现从时钟到汽车,日常生活中各种形状及用途的切齿加工及齿轮制造。
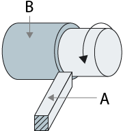
2. 车床加工
车床加工是一种在旋转圆柱形加工物的同时,用固定在主轴上的、名为车刀的刀状工具锉磨加工物,以实现加工的技术。使用车床,将圆柱形加工物的外周加工成圆形或尖锐形状(锥形),进行打孔、扩孔镗削、螺旋切削,以及切槽后在终点进行切割的切断等等。



- A
- 工具
- B
- 加工物
【1】通用车床
操作人员手动进行送刀操作及工具更换的车床加工。用名为卡盘的固定具固定加工物,再控制其进行高速旋转,实现加工。利用台式车床,可以在工作台上进行小型部件的加工。
【2】 NC车床(CNC车床)
借助计算机控制加工条件的车床加工,初学者也能以较高的品质完成加工。还有能够自动更换多种工具的机型,有效推进了作业的高效化。
过去,要用长棒状材料制造出类似于金太郎糖的同一形状加工物,都会使用凸轮式的自动盘,而近年来,通过程序控制进行加工的NC自动车床开始取代凸轮,逐渐普及。


