主要基准要素的种类
基准要素分为平面、直线、点等种类,必须根据管控的公差及要素,进行区分使用。
平面的基准
平面的基准就是将目标物的面设定为基准。可设定为目标物的外形面(基准平面)及中心面(基准中心平面)等。
在ISO和ASME中分别定义如下。
- ISO 5459:2011
- 作为理论正确平面的基准。
- ASME Y14.5-2009
- 根据基准要素确立的基准要素模拟体平面。
基准平面
基准平面就是设定为目标物外形面的基准。将平坦表面指定为基准时,标示符号如下所示。
标示符号

基准的设定

- a
- 模拟基准要素=平板的表面
- b
- 基准=根据平板设定的平面
指定为基准的目标物(基准要素)的表面,实际上存在凸凹起伏。通过用平板等高精度平面支持指定为基准的面,设定基准平面A。此时,提供支持的平面就是“模拟基准要素”。
基准中心平面
设定为目标物中心面等的理论平面,就是基准中心平面。将平行相对的2个表面的中心面指定为基准时,标示符号如下所示。
标示符号

基准的设定

- a
- 模拟基准要素=2个平坦接触面
- b
- 基准=根据2个平坦接触面设定的平面
基准平面也同样如此,指定为基准的目标物(基准要素)的表面,实际上存在凸凹起伏。通过使用平板等高精度平面,从两侧支持被指定为基准的面,设定基准中心平面。此时,提供支持的2个平面就是模拟基准要素,由此构成的理论平面就是“基准中心平面”。
基准直线
设定为目标物的角等棱线,以及圆柱孔、圆柱轴中心的理论直线。分为“基准轴”与“基准轴直线”。多数情况下设定为目标物圆柱孔或圆柱轴的中心,极少设定为棱线。下面分别介绍将基准轴设定为圆柱孔和圆柱轴时的情形。在ISO和ASME中分别定义如下。
- ISO 5459:2011
- 作为理论正确直线的基准。
- ASME Y14.5-2009
- 根据基准要素确立的基准要素模拟体轴。
基准直线(设定为圆柱孔时)
设定为圆柱孔中心的基准,标示符号如下所示。
标示符号

基准的设定

- a
- 基准(基准轴直线)=最大内接圆柱的轴直线
- b
- 模拟基准要素=最大内接圆柱
指定为基准的目标物(基准要素)的圆柱孔表面,实际上存在凸凹起伏。通过插入紧密贴合孔洞的高精度轴,对插入孔设定基准。此时,插入的轴就是模拟基准要素,相应的轴直线就是基准轴直线。
基准直线(设定为圆柱轴时)
设定为圆柱轴中心的基准,标示符号如下所示。
标示符号

基准的设定

- a
- 基准(基准轴直线)=最小外接圆柱的轴直线
- b
- 模拟基准要素=最小外接圆柱
指定为基准的目标物(基准要素)的圆柱轴表面,实际上存在凸凹起伏。通过插入紧密贴合孔洞的高精度孔,对插入孔设定基准。此时,插入的孔就是模拟基准要素,相应的轴直线就是基准轴直线。
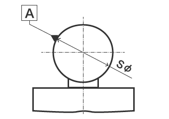
点
将基准点设定为球形目标物的中心,标示符号如下所示。
标示符号

基准的设定

- a
- 基准=最小外接球的中心
- b
- 模拟基准要素=V块状的4个接触点(用最小外接球表示)
指定为基准的目标物球体表面,实际上存在凸凹起伏。用2个V块夹住作为基准要素的球体,构成4个接触点,球体的表面就是模拟基准要素,相应的中心就是基准点。



